
或许对于未来的全自动驾驶汽车而言,方向盘已经成为了多余的零件,不如取掉,从而可以给车内更多的空间。
而在当下,在走向全自动驾驶的道路中,方向盘还是必不可少的,但很多主机厂已经开始研究如何将方向盘能够收起来,在想用的时候再拿出来。
目前,这个想法正在被慢慢落实。

可折叠方向盘是一个不错的解决方案?
其实,这个想法奥迪很早就提出了,但第一个申请专利准备落实的是韩国现代。
据了解,现代汽车已经向美国专利商标局申请了这项可折叠方向盘的专利,第一个量产零件将很有可能在旗下高端品牌捷尼赛思上亮相。

从专利申请书上我们可以发现,这款方向盘可以线性地折叠或展开,目的是为了驾驶员进入车辆创造更多空间。
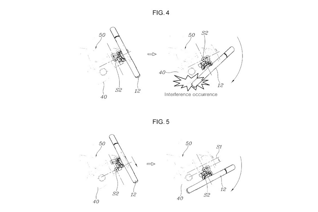
这个专利还指出,目前常规的方向盘向上移动,驾驶员座椅向后移动来获得进出空间,这样的效果并不理想,因为方向盘的边缘部分仍然占用太多空间。
因此,现代汽车希望通过将方向盘向下折叠的方式,来进一步拓展空间。
当然,正如开头所说,除了空间之外,这款方向盘最主要的目的是让汽车在3级以上自动驾驶汽车中自己完成所有工作,让驾驶员能够安心地脱离方向盘。

究竟是如何实现折叠的?
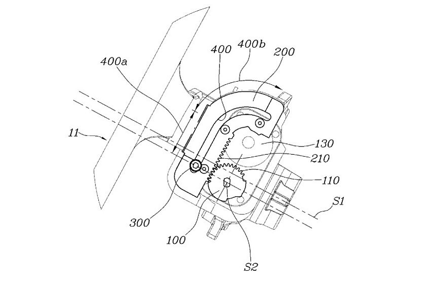
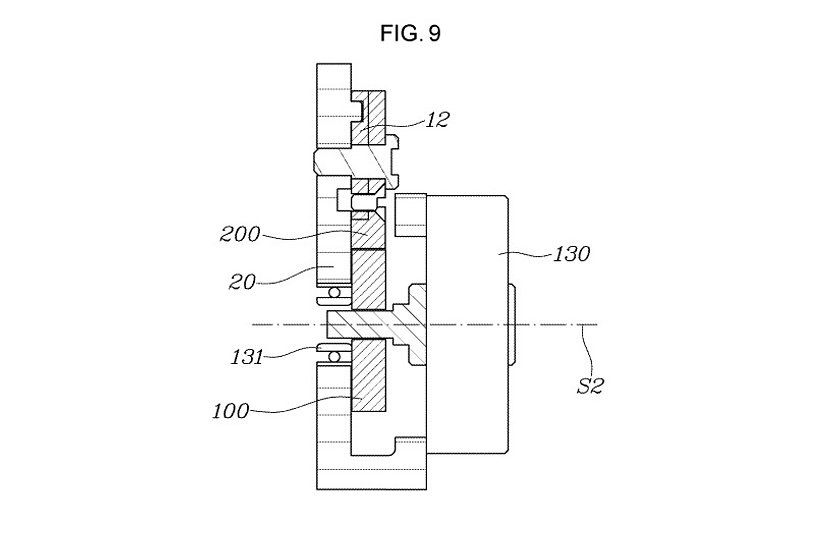
可折叠方向盘的组成部分还是要比常规方向盘复杂很多,其核心是中心电枢体将固定到我们所知道的转向柱上,并且该系统允许转向环从中心电枢断开,而实现折叠的功能。
当然,方向盘上也安装了齿轮和导轨等,以确保其折叠过程中稳定的线性运动。

值得一提的一个细节是,这个设计还必须确保安全气囊始终面向驾驶员座位的乘员,即使在不需要方向盘的自动驾驶场景中也是如此。
这样的好处是:哪怕驾驶员在路边停车,或者是自动驾驶模式下方向盘折叠朝下的状态,当遇到另一辆车与用户的车相撞,安全气囊依旧能从转向管柱中爆破而出,去保护驾驶员的头部减少冲击。

这个专利到底有多少价值?
就目前而言,折叠方向盘的目的有两个:其一,改善内部空间,方便上下车;其二,为全自动驾驶做过渡。
显然,哪怕是简单地改善空间这一条颠覆式的创新,就需要付出很多的努力,要知道,方向盘本身就集成了很多功能,还包括最重要的安全属性,这都需要被考虑周全。
当然,这些探索,对后续全自动驾驶是很有帮助的。

我们从大量的专利中也关注到,现代汽车正在开发比Genesis G90更豪华的产品。
另外,我们还关注到,现代最近开发了新的车门系统并申请了一个商标,这表明:未来更多的创新功能即将到来。

结束语:
虽然有些人可能会认为,可折叠方向盘没有必要,但换个维度想一想,在豪华车型中大多数功能看起来其实必要性也不大,比如劳斯莱斯的星空顶等。
但是,创新无疑是推进汽车行业发展的原动力,尝试不同的可能性去改善舒适性和功能性,哪怕这个功能或许看起来并不起眼,甚至可能被认为是多余,但是,未来的某一天,场景一旦改变,你会发现,有些急需的内容,我们早就已经有了江南体育怎么下载 储备了。
来源:第一电动大牛作者:二师兄玩车
特别声明: 以上内容转载自第一电动大牛作者:二师兄玩车,目的在于传播更多信息,如有侵仅请联系删除,转载内容并不代表江南娱乐苹果app (www.www.wudnway.com)立场。
部分图片来源于网络,如有侵权请告知删除
版权所有©2007-2026 江南娱乐苹果app
新能源汽车网所有信息及作品,未经书面授权不得转载
商务联系请扫码
新能源汽车网官方微信
![]()